| Startpagina | Modelspoor | Modelauto's | Baanontwerp | Integraal |
| modelspoor |
Principeschema van treindetectiemodule![]() principeschema van de treindetectie module
|
Voor het testen van de treindetectie module is de testprocedure uit het boek Edits Pro van Steffen van de Vries (bldz. 47) gevolgd:
Voor TD1 kleurden de detectiemodules achtereenvolgens inderdaad één voor één rood, mits de modules correct worden aangesloten. Connector K1 moet aan de controllerkant zitten..
Voor TD2 kleurden 4 van de 8 detectiemodules continu rood.
Door eenvoudige spanningsmeting op de aansluitpennen van de IC’s kwam het foute
euvel al snel aan het licht. Uit de meetresultaten (zie onderstaande tabel)
bleek een 4-tal reset ingangen van IC3 logisch “
|
pen |
IC2 |
IC3 |
IC1 |
Opmerkingen |
|||
|
|
TD1 |
TD2 |
TD1 |
TD2 |
TD1 |
TD2 |
|
|
1 |
0 |
0 |
0 |
0 |
0 |
0 |
|
|
2 |
? |
? |
? |
? |
? |
? |
|
|
3 |
4,5 |
4,5 |
4,5 |
4,5 |
4,9 |
4,9 |
|
|
4 |
4,5 |
4,5 |
4,5 |
0 |
4,9 |
4,9 |
Resetingang TD2 “ |
|
5 |
5 |
5 |
5,0 |
5,0 |
0 |
0 |
|
|
6 |
4,5 |
4,5 |
4,5 |
0 |
0 |
0 |
Resetingang TD2 “ |
|
7 |
4,5 |
4,5 |
4,5 |
4,5 |
0 |
0 |
|
|
8 |
0 |
0 |
0 |
0 |
0 |
0 |
|
|
9 |
0 |
0 |
0 |
0 |
Var |
Var |
|
|
10 |
0 |
0 |
0 |
0 |
0,9 |
0,9 |
|
|
11 |
4,5 |
4,5 |
4,5 |
4,5 |
4,8 |
4,8 |
|
|
12 |
4,5 |
4,5 |
4,5 |
0 |
4,8 |
4,8 |
Resetingang TD2 “ |
|
13 |
0 |
0 |
0 |
0 |
0 |
0 |
|
|
14 |
4,5 |
4,5 |
4,5 |
0 |
0 |
0 |
Resetingang TD2 “ |
|
15 |
4,5 |
4,5 |
4,5 |
4,5 |
0 |
0 |
|
|
16 |
5 |
5 |
5,0 |
5,0 |
5,0 |
5,0 |
|
Meetwaarden op de trein detectie module
Later heb ik de detectie modules getest met het programma Koploper.
In eerste instantie heb ik +5 V spanning via een weerstand op de ingangen van de detectiemodule aangebracht, waarbij alle raildetectie secties correct bleken te werken.
Ook als de positieve railspanning via een weerstand op de railsecties wordt aangebracht en combinaties van railsecties worden betreffende blokken door het programma Koploper correct weergegeven als bezet zijnde zonder onderlinge beïnvloeding.
Vervolgens bleek er in de praktijk bij treinenloop nog al wat onderlinge beïnvloeding op te treden. Op een bezetsectie rail wordt via de loc het digitale + 20 V tot – 20 V signaal op de ingang van betreffende bezetsectie gezet. In sommige gevallen gaven bijna alle blokken een bezetindicatie weer. Soms was er sprake van een complete kermistoestand. Dit duidt op een slechte aardverbinding.
Met de scoop heb ik vervolgens een aantal signalen gemeten om de goede werking te controleren.
Om het geheugen op te frissen volgt hierna de relatie tussen het boostersignaal op de rails, het kloksignaal van de controller naar treindetectie modules en het seriële uitgangssignaal van de treindetectie modules naar de controller.
In onderstaande figuur is een trit (waarden
“

Trits met kloksignaal voor het uitlezen van
de treindetectie modules
Eén commando bestaat uit 9 trits (4 adres trits en 5 data trits) waarmee conform onderstaande figuur 16 x 8 bits worden verzonden. Daar alle commando’s vanwege de storingsgevoeligheid van het treinbedrijf altijd 2 keer achter elkaar wordt verzonden wordt op deze manier 32 x 8 klokpulsen verzonden, waarmee maximaal 32 treindetectie modules kunnen worden uitgelezen.
Opmerking: In het boek van Steffen van de Vries is de periodetijd van een trit 208 m sec en zijn per trit twee vensters van 128 m sec met een onderlinge afstand van 100 m sec beschikbaar om 2 x 8 klokpulsen te verzenden (zie 4.18). Dit is niet mogelijk: 2 x 128 + 100 > 208.

commando met 4 adrestrits en 5 datatrits met
16x 8 klokpulsen
Met de scoop heb ik het kloksignaal en het seriële signaal gemeten (zie onderstaande figuur). Het eerste pulsje van 60 msec is het laad schuifregister pulsje, waardoor de parallel/serieel/reset lijn laag wordt. Hierdoor komen de schuifregisters in de mode serial shift. Doordat de schuifregisters van alle modules aan elkaar gekoppeld zijn, ontstaat in feite een groot schuifregister dat bij elke opgaande lijn van de kloklijn alle ingangstoestanden achter elkaar doorgeeft naar de controller, beginnend bij de module die direct is aangesloten op de controller.
Gemeten kloksignaal, voorafgegaan door het
“laad schuifregister” pulsje
De seriële uitgang wordt door het laad schuifregister pulsje (60 m sec) gedurende ca. 760 m sec laag. Gedurende deze periode worden de 32 treindetectie modules uitgelezen. Deze cyclus herhaalt zich om de 10,2 msec.
Opmerking: Ik had verwacht dat het parallel/serieel signaal gedurende de gehele cyclus van 32 x 8 klokpulsjes laag zou zijn om alle 32 bezet modules uit te lezen. Kennelijk is het voldoende om de 3 aangesloten treindetectie modules uit te lezen.

Totale cyclus met 32 x 8 klokpulsjes
In bovenstaande figuur is de totale cyclus van de 32 x 8 klokpulsjes weergegeven. Het signaal is opgebouwd uit:
De totale cyclustijd van het signaal is ca. 10,2 msec.
In onderstaande tabel is per treindetectie module weergegeven welke railsectie in welk blok en op welke printingang is aangesloten.
|
Relatie tussen railsectie, blok en ingang treindetectie module |
||||||||
|
Treindetectie module 1 |
Treindetectie module 2 |
Treindetectie module 3 |
||||||
|
railsectie |
blok |
ingang |
railsectie |
blok |
ingang |
railsectie |
blok |
ingang |
|
11 |
1 |
0 |
21 |
2 |
0 |
31 |
6 |
0 |
|
12 |
8 |
1 |
22 |
9 |
1 |
32 |
7 |
1 |
|
13 |
1 |
2 |
23 |
12 |
2 |
33 |
10 |
2 |
|
14 |
5 |
3 |
24 |
5 |
3 |
34 |
11 |
3 |
|
15 |
4 |
4 |
25 |
11 |
4 |
35 |
8 |
4 |
|
16 |
4 |
5 |
26 |
10 |
5 |
36 |
9 |
5 |
|
17 |
3 |
6 |
27 |
7 |
6 |
37 |
3 |
6 |
|
18 |
12 |
7 |
28 |
6 |
7 |
38 |
2 |
7 |
In onderstaande figuur is de gemeten kloklijn weergegeven en de seriële lijn voor diverse bezetmeldingen.
De positie van het bezetpulsje is afhankelijk van de klokpuls. Ingang 15 (ingang 4 op het eerste bezet module) wordt geset door het vierde klokpulsje uit de eerste reeks van 8 en gereset door de vijfde klokpuls enz. Het bezetpulsje heeft derhalve een breedte van 16 msec. Bezetmelding 11 komt overeen met ingang 0 van de eerste bezetmodule. Het bijbehorende pulsje wordt geset door het klokpulsje “laad schuifregister” en gereset door het eerste pulsje van de eerste serie van 8. Het bezetpulsje heeft derhalve een afwijkende lengte (ca. 188 msec).

Als ingang 21 (ingang 0 van de tweede bezetmodule) “bezet” is wordt het betreffende bezetpulsje geset door de achtste puls van de eerste serie van acht en gereset door de eerste puls van de tweede serie van acht. Het bezetpulsje van ingang 21 heeft derhalve een lengte van 116 msec.
Opmerking: in het boek van Steffen van de Vries wordt gesuggereerd dat alle bezetpulsen even lang zijn.
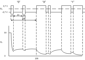
Het signaal dat op de ingang van een bezetmodule wordt gemeten is weergegeven in het bovenste deel van bovenstaande figuur. Het is het boostersignaal dat wordt begrensd door de beide anti parallel geschakelde dioden tussen + 0,7 V en – 0,7 V. De ingangschakeling van de bezetmodule is weergegeven in onderstaande figuur.

Ingangssignaal op de treindetectiemodule

Ingangschakeling van de treindetectiemodule
Op het moment dat het ingangsignaal positief wordt zal de transistor gaan geleiden en wordt U0 via de weerstand van 10k ontladen van 5 V naar ca. 0,5 V. Op het moment dat de ingangspanning negatief is zal de transistor sperren en wordt U0 weer via de weerstand van 100 k opgeladen tot 5 V. De tijdconstante voor het ontladen van U0 is t = 100 msec. en voor het opladen van C is t = 1000 msec een factor 10 groter. Afhankelijk van de tijdsduur dat het ingangsignaal positief is gedurende de bezetperiode van betreffende railsectie zal U0 variëren van 0,5 V tot 4 á 5 V. Dit proces is schematisch weergegeven in figuur 4.23.
Daar het boostersignaal gemiddeld negatief is (de pauze tussen 2 commando’s bedraagt 1500 msec op een periode tijd van een commando van 5448 msec ( %)) kan U0 tijdens de bezetperiode redelijk de + 5V benaderen. Dit hoeft echter geen probleem te zijn voor de flip flop, waarvoor dit signaal dient voor de set ingang. Als de flip flop eenmaal geset is wordt hij pas weer gereset als er een reset signaal komt en de set ingang laag is.
In bijgaand kader is eeen theoretische onderbouwing gegeven van figuur 4.23.
|
Als de transistor in onderstaande figuur niet geleidt wordt C opgeladen van ca. 0,5 V naar 5 V.
Uit de volgende 2 vergelijkingen
volgt de differentiaalvergelijking: R1C dU0/dt = 5 – U0 met als oplossing: U0(t) =5 – C1 e-t/R1C met C1 = 4,5 V, dus U0(t) =5 – 4,5 e-t/t met t = 10-3 Als de transistor geleidt wordt C via R2 ontladen (zie bijgaande figuur).
Bijgaande vergelijkingen kunnen worden afgeleid:
Hieruit volgt de differentiaalvergelijking:
Met andere woorden C wordt ca. 10x zo snel ontladen (transistor in geleiding) dan geladen (transistor gesperd) |
Ondanks voorgaande testen en de toetsing van de theorie aan de praktijk was het probleem van de onderlinge beïnvloeding niet opgelost. De control unit is via een DIN plug en afgeschermde 5 aderige kabel verbonden met de eerste treindetectie module, die op zijn beurt eveneens met een afgeschermde 5 aderige kabel verbonden is met treindetectie module 2, enz. enz. De aardverbinding van treindetectie module 3 tot controller of de booster aarde was ruim 1 ohm. Door de boosteraarde B, die via dikkere bekabeling over de gehele baan aanwezig is (zie ook rangeerblokken) rechtstreeks op de aarde van de treindetectie module aan te sluiten was het probleem opgelost.