Startpagina Modelspoor Modelauto's Baanontwerp Integraal


Opbouw lift



baanontwerp
onderbouw
railplan
blokstructuur
wegenplan
station
lift
sceenery



In figuur 1 is de bouwtekening van de lift weergegeven.

lift, zij en achteraanzicht
Figuur 1: Links het achteraanzicht van de lift en rechts het zijaanzicht

 
In het onderste gedeelte zit de motor, die via een schroefspindel het lifttableau aandrijft. De motor is met wat mecano onderdelen in de motorruimte gemonteerd.
De motorruimte bevindt zich uiteindelijk onder de treinenfafel. De 4 geleiderstangen zijn zowel aan de onderkant als de bovenkant geborgd in een kleine ruimte met een hoogte van 10 mm.

Figuur 2 geeft een schets van het wegdek wat tevens het hoogste niveau van het lifttableau is.
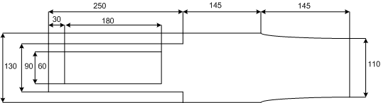
In figuur 3 is het lifttableau schetsmatig weergegeven. De uitstulping aan de rechterkant sluit op het juiste moment het eindcontact als de lift het hoogste niveau heeft bereikt.
Bijgaande foto's geven een goed beeld van de opbouw.

lift wegdek         lift tableau
Figuur 2: Schets van het wegdek                                                                           Figuur 3: Maatschets van het lifttableau

Figuur 4 geeft een zijaanzicht van de lift. In het onderste deel zit een 12 V gelijkstroommotor, die via een spindel (4 mm schroefdraad as) het liftplateau aandrijft.
In het liftplateau zit een moer verankerd, waardoor het plateau afhankelijk van de draairichting van de motor op of naar beneden kan bewegen.
Met 4 geleidestangen  wordt bereikt dat het liftplateau soepel op en neer kan bewegen.
In figuur 5 zijn de 4 geleidestangen zichtbaar en rechts in het midden de schroefspindel. In het midden van het liftplateau is de magnetische geleideband te zien met daarnaast aan beide zijden de signaaldraden.

lift_zijaanzicht           lift_binnen
Figuur 4: zijaanzicht lift                                                         Figuur 5: inkijkje lift


Het onderste gedeelte van de lift met de motor is verzonken in de treinentafel. Rechts boven in figuur 4 is een deel van het wegdek te zien dat uit de bergen komt. Dat is tevens het hoogste punt van het liftplateau, dat gemarkeerd wordt door een microcontact aan de bovenkant (zie ook besturing van de lift). Aan de onderkant is eveneens een microcontact gemonteerd, dat gesloten wordt als het liftplateau het nivo van de aansluitende rotonde heeft bereikt. In figuur 6 zit het microcontact gemonteerd aan de zijkant van het balkje op stelschroeven. Op die manier kan de juiste hoogte van de onderste stand worden ingesteld.

lift_achteraanzicht           lift_electronica
Figuur 6: achterzijde lift                                                       Figuur 7: zijaanzicht met besturingselektronica

In figuur 7 is de elektronica te zien, die zorgt voor een juiste besturing van de lift. De hoofdprint zit links. De print rechts bevat elektronica voor de Ucci interface.
Ook is hier het microcontact , dat de onderkant van het liftplateau markeert, goed te zien.
In figuur 8 is de motor met enkele mecano onderdelen te zien. Zoals al eerder vermeld is dit deel onde de tafel gewerkt.

lift aandrijving
Figuur 8: Onderste deel van de lift met motoraandrijving

De buitenkant van de lift is op dezelfde manier bewerkt als het viaduct. De zijde met electronika is op de treintafel buiten zicht.